

铝合金站脚外观及尺寸 :
1.铸造过程不得有较大气孔、疏松、夹渣等不良现象。
2.站脚成型后周边不能有毛刺、飞边。
3.表面精抛防氧化处理。
4扶手和写字板向上倾斜6.5度,需提供站脚小样一个。
二、技术要求
1.座椅根据人体工程学原理及形态美学设计制造,背垫和座垫之弧度完全符合人体原理曲线,座背造型采用自然仿生学概念作为形态美学设计,座高和座深合理,坐感舒适,座垫可自动回复,座椅外观简洁而美观。
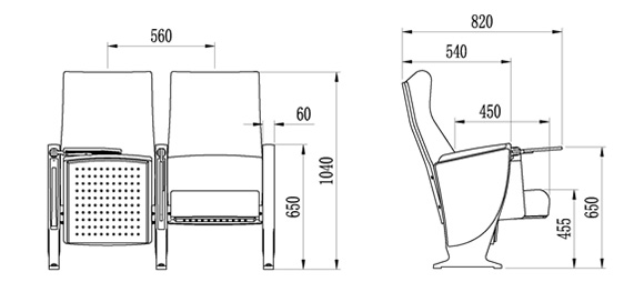
2.座椅基本中心距为560±10mm,座包打开侧深450±10mm,写字板打开侧深820±10mm,椅高为1040±10mm,最小排距:950 mm。通过相关家具产品质量检验中心QB/T2602-2013《影剧院公共座椅》的相关检测依据,甲醛释放量≤0.120mg/m³h;抗引燃特性符合GB 17927.1-2011中的要求。
3.座椅力学性能通过相关家具产品质量检验中心QB/T2602-2013《影剧院公共座椅》的相关检测依据,其中座、背静载:座2000N, 背760N; 扶手静载:侧面:900N,向下1000N。
4.在保证观众舒适度的前提下,背垫高不超过1015mm,增加椅背板的声反射面积,改善座椅的吸声;座底板根据需要打吸音孔,使座椅的吸声量在不同的上座率尽可能保持一致 。
5.下藏式写字板:写字板链接铝头、托板采用优质铝合金材料经模具一体压铸成型。写字板面板采用实木多层板材料经模具一体压铸成型,写字板固定方式为机械原理高强度螺栓,使写字板链接部位越用越结实,不会出现松弛现象,尺寸规格:长度为381.4±2mm,宽度为261.2±2 mm,厚度为15mm;扶手和写字板向上倾斜6.5度保证书写自然状态,写字板打开回收时需带消音功能,不可有反弹力与噪音出现.力学性能通过相关家具产品质量检验中心QB/T2602-2013《影剧院公共座椅》的相关检测依据,写字板静载:300N。
6.面料采用高档针织面料,并经防静电、防蛀处理,手感舒适,长时间使用无皱褶、断裂、起球、褪色现象。
7. 座椅泡绵均为聚氨酯冷发泡高回弹海绵,强度高,回弹性好,座海棉尺寸:长度为480±5mm,宽度为460±5mm,高度为150±5mm。海棉密度为40~55KG/M3,背海棉尺寸:长度为750±5mm,宽度为460±5mm,高度为140±5mm,海绵密度为35~45KG/M3。
8.铝合金站脚:采用优质铝合金材料,铝合金扶手宽≥50mm, 重≥2.9KG。扶手抛光面采取带弧面设计,以保证产品的满饱美观性。
9.座椅扶手盖:为优质进口橡木实木,曲线造型,不变形、不开裂,扶手尺寸规格:尺寸规格:长度为355.4±2mm,宽度为60±2mm,高度为30±2mm 。
10.座五金骨架:采用高度强度优质碳素钢板冲压折弯焊接成形,同时增加5条直径2.5mmS形蛇簧,保证座椅的舒适度。
11.座包采用阻尼回复机构,采用橡胶垫防撞降噪,回复缓慢无冲击性撞击。
12.座、背外板采用优质夹板经模具压弯成型。外型成弧型,美观大方,具有曲线美。背外板尺寸:长度为740±2mm,宽度为495±2mm,厚度为15mm。座外板尺寸:长度为440±2mm,宽度为425±2mm,厚度为12mm。
13、采用隐藏式压爆螺丝固定地面,特别设计塑料防尘盖,保证椅脚平滑美观的同时防止积尘,便于清洁。








